2020-07-15 10:26:05 来源 : 中国经济网
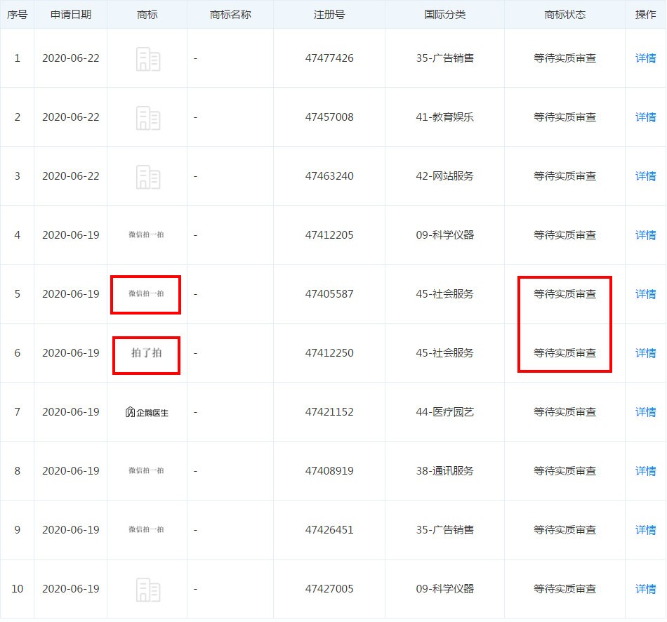
天眼查数据显示,近日,腾讯科技(深圳)有限公司新增多条商标信息,包括“微信拍一拍”“拍了拍”等。目前商标状态均显示为“等待实质审查”。

来源:天眼查
6月中旬,微信上线“拍一拍”功能。当你想要拍一个人的时候,只需在群聊或个人对话框中直接轻轻点击两下对方的头像,对话框中就会出现“你拍了拍 XXX”的字样,你的手机也会同步震动一下。当然,你也可以“拍一拍”自己。一时间,“拍一拍”在微信好友流行开来。
天眼查数据显示,腾讯科技(深圳)有限公司成立于2000年2月,注册资本200万美元,法定代表人为马化腾。
关键词: